Utility Patents

Consumer products, manufacturing, packaging, assembly line, food production, medical, electrical, surveillance, data processing. There's nothing I can't draw.

  • Technical drawing of a basketball hoop with labeled parts on a white background

    Athletic ball game using smart glasses

  • Standing playground glider

  • Lean Based Steering System For Use With Tilting Cycle

  • Sliding cover with inclined-plane seal for weather sealed consumer electronics device

  • Rotary Filling Machine Patent

  • Product Package, Product Packaging and Method for Maximizing Retail Merchandizing Space

  • Film Structure Puncture Testing Tool And Method

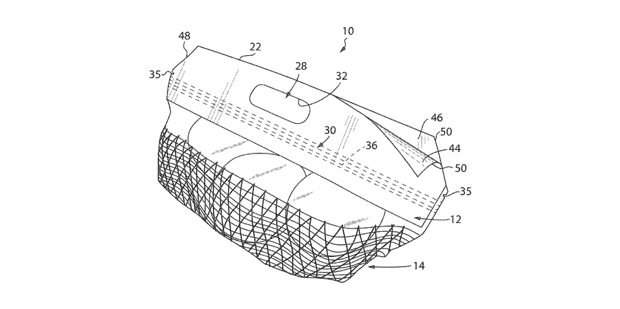
  • Multi-Substrate Bag with Gusseted Mesh Bottom Patent

  • Bin packing system and method

  • Gas Heat Exchanger with Baffle for Deep Fat Fryer

  • Multizone Oven with Improved Cleaning Distribution

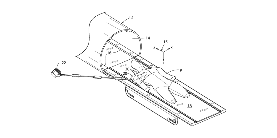
  • Flexible Local Coil for Magnetic Resonance Imaging Patent

  • Method and Apparatus to Mount a Medical Imaging Antenna to a Flexible Substrate

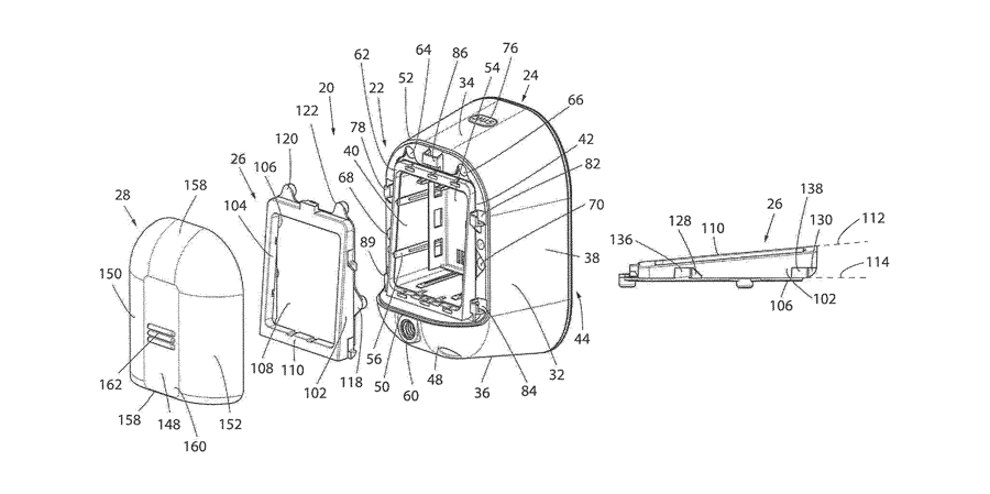
  • Sterile Imaging Protective System

  • Method and Apparatus for Power Transfer to an Independent Moving Cart During Travel Along a Track Patent

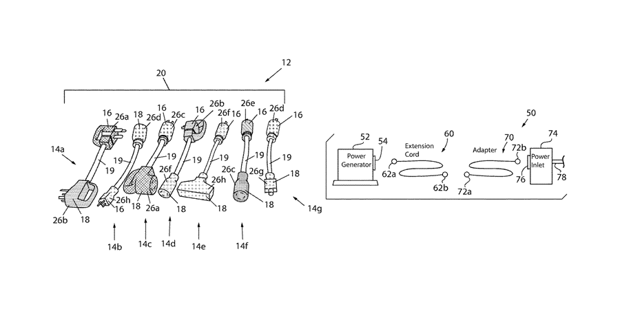
  • Adapter System for Connecting Electrical Sources to Loads Patent

  • Systems and methods for processing video data for activity monitoring

  • Collapsible Lane Delineator

Need quality utility patent drawings?

Get started today.